用户是国内唯一面向航空发动机,从事先进材料应用基础研究、材料研制与应用技术研究和工程化研究的综合性科研机构,是国家科技创新体系和国防科技创新体系的重要组成部分。拥有完整的材料、制造、检测技术体系和丰富的技术积累;拥有9个国家级的重点实验室和工程中心,13个省部级重点实验室和工程中心,6个海外联合研究中心,4条国家级生产示范线。
                        1.已有测量系统,专业测量软件和分析软件,但没有形成基于任务驱动的全过程业务闭环。
                        
                        2.自动化系统,测量设备及专业分析软件未有效打通,设备与系统形成信息孤岛,无法实现业务信息数字化及一体化管理。
                        
                        3. 信息来源多,数据处理复杂,人工整理费时费力,且容易出错。
                    
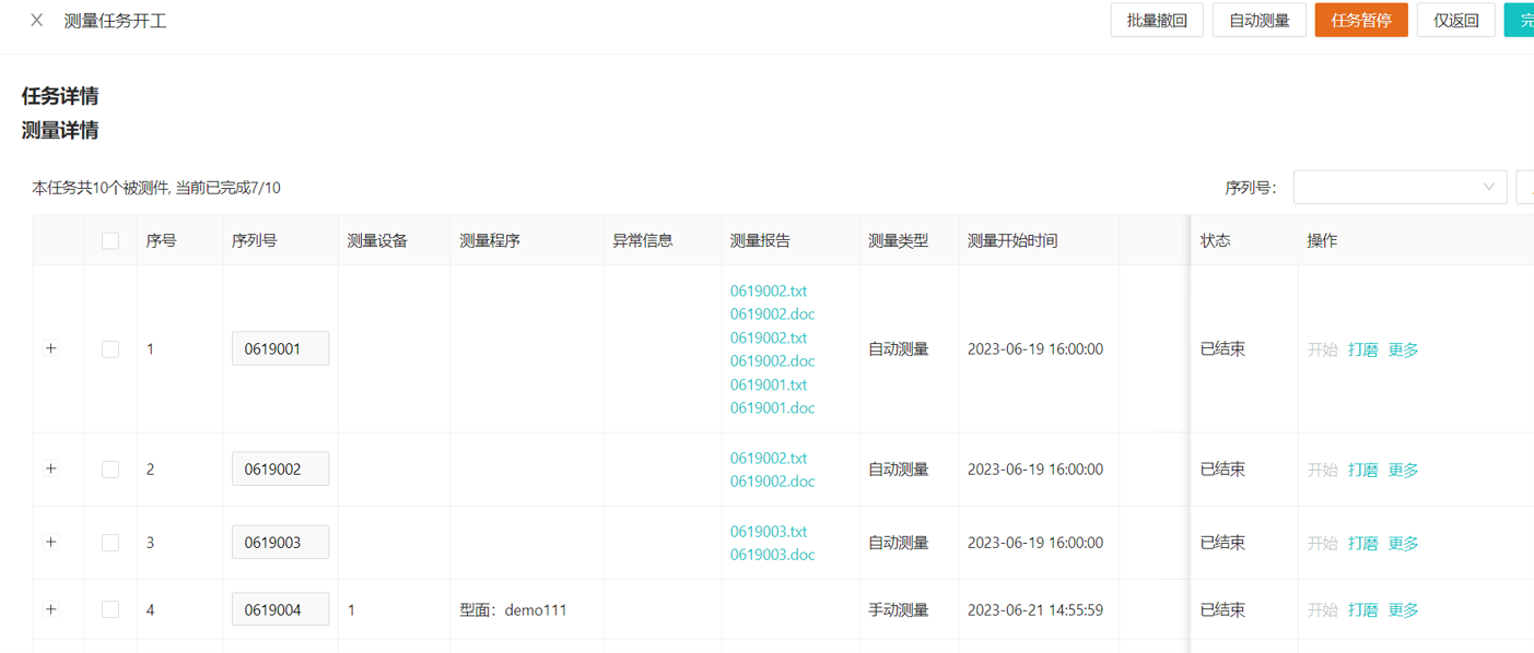
客户精密检测室已搭建自动自动化检测系统,本系统将在现有自动化测量系统和单机运行的三坐标测量机基础上,进行信息化升级,将自动化系统,测量设备及专业分析软件基于一套业务管理系统,实现用户权限管理、任务管理、复测管理、打磨管理、自动化衔接,扫码管理、设备管理,数据采集与数据汇总,数据统计与分析等功能,实现自动化检测单元数字化管理,提高精测间整体数字化水平。
                        1. 打通自动化测量,任务管理,分析全过程,实现一体化管理,大大提高了测量和分析工作的整体效率
                        
                        2. 实现了测量的标准化,通过数字化系统,保证了测量任务,测量标准和分析标准的统一,保证到了测量的有效性和科学性
                        
                        3. 实现了数据的实时分析,并可以灵活的适配现场需求,适应不同的数据格式和分析报告,加速数据的整理、分析和报告全过程
                    


